这些汽车冷知识,99%的汽修工不知道!(上)
汽车是一个神奇的物种,每个组成部分都充满了科学元素。同时它也是各个学科(如物理学、化学、力学、美学甚至人文、地理等学科)集合体的展现。
作为汽修人,只会修车可不行。我们还要不断的扩展自己的视野,丰富自己的眼界。
接下来,就从下面的汽车冷知识开始吧!
(果果偷偷告诉你,下期内容更精彩)
1
发动机每秒产生100次爆炸

发动机一个汽缸内做功一次,需完成四个活塞行程(进气-压缩-做功-排气),即一个工作循环。整个过程中活塞上下运动各两次,曲轴旋转两周。
如果转速表的指针指向6,则表明此时发动机的转速为6000转/分,即100转/秒。
如果转速表的指针指向3,表明此时发动机的转速为3000转/分,即50转/秒。
假如一个直列4缸发动机正在以3000转/分的转速运行,此时曲轴在1秒内转50圈,也就是说该发动机在1秒内要完成25次工作循环,进行100次点火。也就是相当于1秒内在发动机汽缸中产生100次小面积的爆炸现象。
2
汽车每分钟可吸入3000L空气

我们都知道,汽车发动机的理论空燃比为14.7:1,即完全燃烧掉1单位的汽油需要吸入(消耗)14.7单位的空气。如果转化为体积比,大概在9000:1。
这样算来,汽车每分钟要吸入大概3000~5000L的空气。
3
马力到底有多大?

1马力(ps)相当于将75千克的重量在1秒内提升1米所做的功。
马力(horsepower)一词是由苏格兰科学家詹姆斯·瓦特(蒸汽机的发明者)首先提出。
起初是以小马驹力量为基础来估算蒸汽机力量的大小,而一匹成年马的能力仅相当于0.7马力。
后来作为衡量发动机动力性能的指标,现阶段在正规场合或专业术语中用瓦(W)或千瓦(KW)将其替代作为功率的标准单位。
4
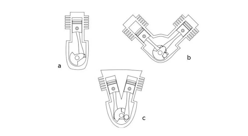
汽缸排列阵法

【果果温馨提示:重点内容,要仔细看哟】
平时工作中,我们最常见的发动机汽缸排列形式绝对是L型(直列式)、V型这两种,除此之外像W型、H型、VR型想要看一眼它的真面目还真不容易。
当然,从汽缸数来讲,两缸以下的排列形式是不会出现在汽车上的(多出现在摩托车中)。在汽车中汽缸数一般为偶数,当然3缸机和5缸机是个例外。自3缸机到18缸机你又了解多少,我们继续往下看:
注:发动机各汽缸的做功顺序由曲轴结构和缸序决定,所以做功顺序可能会出现多种。
发动机DIN73021标准规定,从发动机曲轴输出端观察,由前往后依次编号。对于非直列式的采用由前到后、由左到右的顺序依次编号。
L型3汽缸

做功顺序:1-3-2
车型举例:别克英朗1.0T、本田凌派1.0T
L型4汽缸

做功顺序:1-3-4-2
最为常见的发动机
L型5汽缸

做功顺序:1-2-4-5-3
车型举例:奥迪TT RS、RS3、奥迪Sport quattro S1
L型6汽缸

做功顺序:1-5-3-6-2-4
L6代表车型:宝马M340i/X7 xDrive40i/X5 xDrive40i/Z4 M40i
V型6汽缸

做功顺序:1-2-5-6-4-3/1-4-5-6-2-3等
车型举例:林肯MKZ AWD/Continental、凯迪拉克CT6、玛莎拉蒂Levante S、保时捷Panamera 4S、福特F-150猛禽、讴歌NSX、奥迪V6
V型8汽缸

做功顺序:1-8-4-3-6-5-7-2
车型举例:福特野马V8 GT、Audi RS4、凌志LS400、雪佛兰LS9

V型10汽缸

做功顺序:1-6-5-10-2-7-3-8-4-9
车型举例:道奇蝰蛇、雷克萨斯LFA、宝马M5、奥迪R8

V型12汽缸

做功顺序:1-12-2-10-3-8-4-6-5-11
V12代表车型:法拉利的LeFerrari、阿斯顿·马丁Vanquish S、宝马M760i xDrive、法拉利GTC4Lusso、兰博基尼Aventador S、梅赛德斯-AMG SL65、迈巴赫S650

VR6发动机

做功顺序:1-2-5-6-4-3
VR6发动机代表车型:高尔夫R32、大众CC 3.0L、辉腾、进口迈腾3.2

W型8汽缸

车型举例:帕萨特B5 4.0

W型12汽缸

做功顺序:1-7-5-11-3-9-6-12-2-8-4-10
车型举例:奥迪A8L、高尔夫GTI W12-650、途锐、宾利

W型16汽缸

做功顺序:1-14-9-4-7-12-15-6-13-8-3-16-11-2-5-10
W16代表车型:布加迪威龙

W型18汽缸

做功顺序:1-14-18-15-17-13-9-11-7-10-8-12-16-4-2-6-3-5
车型举例:布加迪EB118
H型4汽缸(水平对置式)

做功顺序:1-4-3-2
车型举例:斯巴鲁

H型6汽缸

做功顺序:1-6-2-4-3-5
水平对置6缸(H6)代表车型:保时捷911GTS3.0T、斯巴鲁

备注:H-水平对置发动机因为这款发动机呈水平对置布局,像英文字母H,所以,H其实是比较象形的叫法。更准确的名字是F6(flat engine)或B6(boxer engine)
R型转子式

代表车型:马自达
备注:三角转子把汽缸分成三个独立空间,三个空间各自先后完成进气、压缩、做功和排气,三角转子自转一周,发动机点火做功三次。由于以上运动关系,输出轴的转速是转子自转速度的3倍,这与往复运动式发动机的活塞与曲轴1:1的运动关系完全不同。

5
柴油机的名字来源于Diesel

鲁道夫·狄塞尔(Rudolf Diesel)德国人,出生于1858年。
1892年狄塞尔提出“在空气中注入燃料,通过压缩使空气温度升高,可使喷射在空气中的燃料自燃点火”的理论。并于同年申请并获得柴油机专利权。
1893年写了一本名为《合理的热发动机的理论及其装配》一书,该书阐述了狄塞尔内燃机的工作原理。同年,制成了第一台样机(不幸的是样机试验失败)。
1894年,经改进后成功运行1分钟。但狄塞尔急于推销他的发动机,第一批生产的20台出售后不久,用户便纷纷退货。
由于负债和发动机的质量问题使狄塞尔陷入了困境,于1913年跳海自杀。
后人为纪念狄塞尔,于是就将柴油发动机称为狄塞尔发动机。而柴油/柴油机的英文名现在就是Diesel。
6
汽油是怎样炼成的

石油(即原油)中含有数百种不同的化学物质,而这些化学物质主要由碳原子和氢原子结成的碳氢键和碳碳键组成。
根据其碳原子数量的不同,来定义从石油中炼制(加热蒸馏的方法)出产物的名称。比如汽油分子中含有5~12个碳原子,柴油分子中含有12~20个碳原子。
而汽油较轻,在蒸馏过程中会跑到上面去,经冷却后回流至收集装置中,再经过二次工艺才能得到我们日常所用的汽油。
好啦,到这里我们先按下暂停键,抓紧时间去消化消化吧!
我们下期再见!觉得文章有意思别忘了点个赞,留个言什么的……

